>> Trên con đường hội nhập khoa học công nghệ, Việt Nam cần thúc đẩy bảo hộ sáng chế là công nghệ
>> Trợ lý giọng nói “Siri” của Apple bị vướng vào tranh chấp liên quan đến bằng sáng chế
>> Sáng chế, công nghệ và sự vận dụng trong hoạt động sản xuất kinh doanh
PCT có các mục tiêu cơ bản là tạo ra một hệ thống đăng ký sáng chế hiệu quả và tiết kiệm hơn so với các cách thức nộp từng đơn yêu cầu bảo hộ sáng chế ở từng quốc gia trước đây. Việc này mang lợi ích cho cả người nộp đơn và các cơ quan quản lý nhà nước. Ngoài ra, một trong các mục đích khác của PCT là nhằm thúc đẩy sự trao đổi thông tin kỹ thuật có trong các tư liệu sáng chế giữa các quốc gia và cộng đồng khoa học liên quan.
Với các mục tiêu như thế, PCT là một hệ thống quy định một thủ tục nộp đơn không phức tạp cho người nộp đơn và đạt kết quả cuối cùng là được cấp bằng độc quyền sáng chế tại nhiều quốc gia khác nhau. Cần phải nhận thức rõ rằng đây là hệ thống quy định về cách thức nộp đơn quốc tế chứ không phải là quy định về việc cấp bằng độc quyền sáng chế quốc tế. Thực chất không có cái gọi là bằng độc quyền sáng chế quốc tế, việc cấp bằng độc quyền sáng chế sẽ được thực hiện tại từng quốc gia thành viên theo yêu cầu của người nộp đơn sáng chế.
Những tài liệu cần thiết khi nộp đơn sáng chế quốc tế, bao gồm:
- Tờ khai đơn PCT;
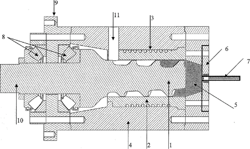
- Bản mô tả sáng chế, yêu cầu bảo hộ, hình vẽ;
- Các tài liệu có liên quan (ví dụ tài liệu xin hưởng quyền ưu tiên…);
- Phí và lệ phí nộp đơn quốc tế.
Các lưu ý đối với bản mô tả bằng sáng chế
Số lượng lớn các đơn đăng ký bằng sáng chế bị từ chối trong giai đoạn đầu nộp hồ sơ đăng ký sáng chế thông qua Hiệp ước Hợp tác Sáng chế (PCT). Một trong những lý do phổ biến nhất dẫn đến việc bị từ chối như vậy là do lỗi trong những Bản vẽ của hồ sơ đăng ký sáng chế. Các bản vẽ bằng sáng chế không chỉ cung cấp cái nhìn sơ bộ về một sáng chế mà còn giúp người thẩm định hiểu rõ hơn về sáng chế đó. Việc nộp các Bản vẽ sáng chế cùng với đơn đăng ký sáng chế phù hợp là vô cùng quan trọng, nếu không làm như vậy có thể dẫn đến khả năng bằng sáng chế bị từ chối bởi người thẩm định bằng sáng chế. Bài viết này sẽ đưa ra hai bước quan trọng để giảm thiểu rủi ro bị từ chối bản vẽ bằng sáng chế theo PCT.
Bước 1: Tìm hiểu các lỗi trong bản vẽ bằng sáng chế và cách để khắc phục chúng
- Không thừa nhận việc sao chép trực tiếp
Trong trường hợp đơn xin cấp bằng sáng chế bị từ chối với lý do “Không thừa nhận việc sao chép trực tiếp”, điều đó có nghĩa là người nộp đơn đã nộp trực tiếp các bản phác thảo/bản vẽ thô cho cơ quan cấp bằng sáng chế liên quan. Tuy nhiên, đây là một phương pháp nộp đơn không chính xác. Người nộp đơn phải tạo ra các bản vẽ đường đen trắng thích hợp. Bên cạnh hình vẽ đường kẻ, Bản vẽ bằng sáng chế có thể sử dụng hình ảnh màu hoặc thang độ xám cho các bằng sáng chế cụ thể.

Bản vẽ bằng sáng chế theo PCT (Ảnh: Wipo)
- Bản vẽ chứa nội dung thông tin không cần thiết
Một bản vẽ bằng sáng chế có thể bị từ chối do vấn đề Bản vẽ bằng sáng chế chứa đựng những thông tin không cần thiết. Để tránh những sai sót như vậy, người nộp đơn không được đưa bất kỳ văn bản hoặc số liệu không cần thiết vào bản vẽ bằng sáng chế.
- Bản vẽ không được thực hiện với màu đen; các đường không dày đồng đều và rõ ràng
Lỗi này là một trong những lý do chính dẫn đến hầu hết các trường hợp bị từ chối Bằng sáng chế. Một cách để tránh những lỗi như vậy là tạo các bản vẽ trong đó các đường có màu đen, dày đồng đều. Bản vẽ bằng sáng chế cũng phải được thể hiện trên chất lượng giấy đủ tốt để có thể chịu đựng nhiều lần photo văn bản.
- Chứa các mặt cắt ngang không được tô bóng đúng cách
Để khắc phục được lỗi này, trước tiên chúng ta cần hình dung về sáng chế / sản phẩm. Khi chúng ta cắt ngang một phần của sản phẩm, sản phẩm được chia thành nhiều phần mỗi phần có bề mặt cắt riêng. Các bề mặt này cần được thể hiện bằng một bản kê khai trong đó các mẫu tô bóng khác nhau có thể được sử dụng để chỉ ra các bề mặt khác nhau. Vì vậy, điều cần thiết là phải hiểu rõ ràng về thiết kế của sản phẩm và cách chúng có thể được sử dụng để phân biệt giữa các bề mặt và chất liệu của các bộ phận khác nhau trong bản vẽ.
Bản cắt ngang của Bản vẽ bằng sáng chế (Ảnh: wipo)
- Chứa số liệu và chữ cái có chiều cao dưới 0,32 cm
Người nộp đơn phải sử dụng kích thước văn bản thích hợp trong các bản vẽ bằng sáng chế để tránh bị từ chối. Theo hướng dẫn của PCT, kích thước của văn bản không được nhỏ hơn 0,32 cm.
- Chứa các số liệu trên hai hoặc nhiều trang tính tạo thành một sản phẩm hoàn chỉnh duy nhất
Đôi khi, rất khó để xếp số liệu trong một trang tính. Điều này thường xảy ra trong những sơ đồ dòng chảy, sơ đồ đường ống và thiết bị (P&ID), mạch điện, v.v. Để làm cho các số liệu phù hợp để cấp bằng sáng chế, ứng viên phải chia các số liệu thành các trang khác nhau bằng cách vẽ các kết nối giữa các bộ phận để có thể nhìn thấy chúng như một hình duy nhất.
- Chứa các số liệu không được sắp xếp đúng cách và tách biệt rõ ràng
Khi người nộp đơn cố gắng đưa nhiều số liệu vào một trang tính làm cho các bản vẽ nhìn có vẻ lộn xộn. Điều này làm cho người thẩm định bằng sáng chế khó nhận ra các chi tiết thiết yếu và có thể dẫn đến việc từ chối của Bản vẽ. Vì vậy, điều quan trọng là phải sắp xếp các hình chiếu một cách hợp lý để đảm bảo rằng các bản vẽ bằng sáng chế không có lỗi.
Bản vẽ Bằng sáng chế (Ảnh: Wipo)
- Bao gồm các số liệu khác nhau không được đánh số bằng chữ số theo thứ tự
Sau khi đặt tất cả các bản vẽ bằng sáng chế theo đúng thứ tự, các số liệu khác nhau sẽ được đánh số bằng chữ số theo thứ tự. Ví dụ, bản vẽ đầu tiên phải được ký hiệu là FIG. 1, Bản vẽ thứ hai là Fig. 2,.... Điều quan trọng là phải đánh số thứ tự tất cả các Bản vẽ để tránh rủi ro bị từ chối của bản vẽ.
- Các bản vẽ không được sắp xếp ở vị trí thẳng hàng, tách biệt rõ ràng với nhau
Cho dù các hình trong bản vẽ bằng sáng chế là ở chế độ xem chân dung hay phong cảnh, điều quan trọng là phải giữ tất cả các hình ở tư thế thẳng đứng để tránh khả năng bị từ chối bằng sáng chế. Vị trí này đảm bảo khả năng đọc bản vẽ bằng sáng chế không gặp những bất lợi
Bước 2: Việc Sao chép các bản vẽ phải đạt yêu cầu
Việc sao chép các Bản vẽ bằng sáng chế đảm bảo rằng đơn đăng ký sáng chế phù hợp để nộp tại Văn phòng. Theo hướng dẫn của PCT, điều này phụ thuộc vào Quy tắc số 11 và Quy tắc số 26 của hệ thống PCT. Các quy tắc này có thể khác nhau giữa các quốc gia hoặc tương tự với nhau, với các cách tiếp cận hoặc số lượng khác nhau.
Quy tắc 11.4 (Trang tính riêng biệt): Mỗi yếu tố, cho dù là yêu cầu, mô tả, bản vẽ hoặc bản tóm tắt của đơn đăng ký quốc tế, nên bắt đầu trên một trang tính mới. Hơn nữa, tất cả các trang của đơn đăng ký sáng chế phải được kết nối với nhau. Điều này đảm bảo rằng các trang tính có thể dễ dàng tách và nối lại nếu chúng đã được tách ra với mục đích sao chép.
Quy tắc 11.12 (Thay đổi): Theo quy tắc này, mọi trang tính không được sửa đổi. Việc không tuân thủ quy tắc này thường được cho phép nếu tính trung thực của nội dung không bị nghi ngờ và các yêu cầu về sao chép Bản vẽ không được đáp ứng.
Quy tắc 11.13 (Yêu cầu đặc biệt đối với bản vẽ): Quy tắc này liên quan đến tất cả các yếu tố khác trong bản vẽ có thể dẫn đến việc được chấp thuận hoặc từ chối bằng sáng chế. Một số quy tắc này là:
- Các bản vẽ phải được làm bằng màu đen, bền, đủ tối và đậm đặc, rõ ràng và dày đồng đều, các đường nét và nét vẽ không có chất tạo màu.
- Các mặt cắt phải được thể hiện bằng nét gạch xiên và phải rõ ràng.
- Số, chữ cái và dòng tham chiếu phải gọn gàng và theo tiêu chuẩn PCT.
Quy tắc 11.14 (Tài liệu bổ sung): Phản hồi của người thẩm định Bằng sáng chế phải bao gồm các bản vẽ đã được bổ sung kèm theo các giấy tờ thay thế trong đó các số liệu bị lỗi được thay thế bởi các bản sửa đổi. Người nộp đơn nên tránh khả năng tài liệu bị sai xót để tránh hồ sơ bằng sáng chế bị từ chối.
Khi nộp đơn đăng ký sáng chế, việc bỏ qua các quy định của cơ quan cấp bằng sáng chế hoặc không đính kèm các bản vẽ cần thiết thường dẫn đến việc bằng sáng chế bị từ chối. Do đó, người nộp đơn phải chuẩn bị cẩn thận các bản vẽ phù hợp với các tiêu chuẩn và hướng dẫn của PCT hoặc tham khảo lời khuyên từ những chuyên giao giàu kinh nghiệm trong lĩnh vực này.
Hà Trung (Dịch và biên soạn)